2018-11-20
PET安全保護膜的制作方法及工藝,pet保護膜在工業應用上隨處可見,pet保護膜的作用主要用于保護產品防刮擦防塵作用,針對目前市場上pet保護膜的不足我們講解改進型pet安全保護膜,下面小編為大家講解保護膜的制作方法及工藝。
介紹:
保護膜,在功能上講是要對我們所要保護的實體物品外放一層膜,使其不受損傷之類的,現在世面上已有高透亮保護膜、AG磨砂保護膜、手機鏡子膜、防窺膜等功能型保護膜,聚對苯二甲酸乙二酯(PET)是一種高度結晶的聚合物,其具有優良的耐磨性、電絕緣性、阻燃性、耐熱老化性和吸水率低等特性,因此,PET保護膜廣泛應用于電腦、數碼相機及手機等電子產品中,但現有PET保護膜的抗刮性和抗撕裂性較差,降低了PET保護膜的使用范圍,為此,我們提出一種PET安全保護膜。
實現要求:
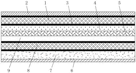
為實現上述PET安全保護膜功能,技術方案如下:PET安全保護膜,包括第一PET膜層和第二PET膜層,第一PET膜層的上表面固定連接有抗刮涂層,第一PET膜層的底部固定連接有抗菌層,抗菌層的底部固定連接有TPU膜層,TPU膜層的底部固定連接有硬化涂層,硬化涂層的底部與第二PET膜層的上表面固定連接,第二PET膜層的底部固定連接有阻燃硅膠復合層,阻燃硅膠復合層包括阻燃層、阻燃硅膠混合層和硅膠層。
第一PET膜層與抗刮涂層和抗菌層之間以及第二PET膜層與阻燃硅膠復合層和硬化涂層之間均通過OCA膠層連接。阻燃硅膠復合層的底部固定連接有離型膜層。阻燃硅膠混合層為阻燃材料與硅膠的混合體。
與現pet保護膜相比,新型PET安全保護膜的有益效果如下:
1、本實用新型在第一PET膜層的上表面固定連接了抗刮涂層,在第二PET膜層的底部固定連接了阻燃硅膠復合層,有效提高了本保護膜的抗刮性、抗撕裂性和阻燃性,且硅膠層具有對屏幕玻璃自動吸附的能力,可適用于一定弧度的屏幕,并具有快速排氣泡的能力,提高了保護膜與屏幕玻璃間的貼合效果。
2、本實用新型通過第一PET膜層、第二PET膜層和硬化涂層的作用,可在經受爆炸或較大的沖擊時,使本保護膜具有較佳的緩沖作用,防爆效果好、安全可靠。
附圖說明
圖1為新型PET保護膜結構示意圖;
圖2為新型PET保護膜阻燃硅膠復合層結構示意圖。
圖中:1第一PET膜層、2抗刮涂層、3 OCA膠層、4抗菌層、5 TPU膜層、6離型膜層、7阻燃硅膠復合層、71阻燃層、72阻燃硅膠混合層、73硅膠層、8第二PET膜層、9硬化涂層。
PET安全保護膜工藝
下面將結合附圖,對PET安全保護膜的技術方案進行清楚、完整地描述。
請參閱圖1-2PET安全保護膜,包括第一PET膜層1和第二PET膜層8,第一PET膜層1的上表面固定連接有抗刮涂層2,第一PET膜層1的底部固定連接有抗菌層4,抗菌層4的底部固定連接有TPU膜層5,TPU膜層5的底部固定連接有硬化涂層9,可在經受爆炸或較大的沖擊時,使本保護膜具有較佳的緩沖作用,防爆效果好、安全可靠,硬化涂層9的底部與第二PET膜層8的上表面固定連接,第二PET膜層8的底部固定連接有阻燃硅膠復合層7,有效提高了本保護膜的抗刮性、抗撕裂性和阻燃性,第一PET膜層1與抗刮涂層2和抗菌層4之間以及第二PET膜層8與阻燃硅膠復合層7和硬化涂層9之間均通過OCA膠層3連接,阻燃硅膠復合層7包括阻燃層71、阻燃硅膠混合層72和硅膠層73,硅膠層73具有對屏幕玻璃自動吸附的能力,可適用于一定弧度的屏幕,并具有快速排氣泡的能力,提高了保護膜與屏幕玻璃間的貼合效果,阻燃硅膠混合層72為阻燃材料與硅膠的混合體,阻燃硅膠復合層7的底部固定連接有離型膜層6。
使用時,在第一PET膜層1的上表面固定連接了抗刮涂層2,在第二PET膜層8的底部固定連接了阻燃硅膠復合層7,有效提高了本保護膜的抗刮性、抗撕裂性和阻燃性,且硅膠層73具有對屏幕玻璃自動吸附的能力,可適用于一定弧度的屏幕,并具有快速排氣泡的能力,提高了保護膜與屏幕玻璃間的貼合效果,同時通過第一PET膜層1、第二PET膜層8和硬化涂層9的作用,可在經受爆炸或較大的沖擊時,使本保護膜具有較佳的緩沖作用,防爆效果好、安全可靠。
綜上所述:該PET安全保護膜,在第一PET膜層1的上表面固定連接了抗刮涂層2,在第二PET膜層8的底部固定連接了阻燃硅膠復合層7,解決了現有PET保護膜的抗刮性和抗撕裂性較差,降低了PET保護膜使用范圍的問題。
盡管已經示出和描述了本實用新型的實施例,對于本領域的普通技術人員而言,可以理解在不脫離PET安全保護膜的原理和精神的情況下可以對這些實施例進行多種變化、修改、替換和變型,本PET安全保護膜的范圍由所附權利要求及其等同物限定。
技術特征:
1.PET安全保護膜,包括第一PET膜層(1)和第二PET膜層(8),其特征在于:所述第一PET膜層(1)的上表面固定連接有抗刮涂層(2),所述第一PET膜層(1)的底部固定連接有抗菌層(4),所述抗菌層(4)的底部固定連接有TPU膜層(5),所述TPU膜層(5)的底部固定連接有硬化涂層(9),所述硬化涂層(9)的底部與第二PET膜層(8)的上表面固定連接,所述第二PET膜層(8)的底部固定連接有阻燃硅膠復合層(7),所述阻燃硅膠復合層(7)包括阻燃層(71)、阻燃硅膠混合層(72)和硅膠層(73)。
2.PET安全保護膜,第一PET膜層(1)與抗刮涂層(2)和抗菌層(4)之間以及第二PET膜層(8)與阻燃硅膠復合層(7)和硬化涂層(9)之間均通過OCA膠層(3)連接。
3.PET安全保護膜,阻燃硅膠復合層(7)的底部固定連接有離型膜層(6)。
4.PET安全保護膜,阻燃硅膠混合層(72)為阻燃材料與硅膠的混合體。
PET安全保護膜的制作方法及工藝內容就到這里,上述PET安全保護膜是基于現有pet保護膜改進,能夠更好的適用于光學行業保護,包括目前使用量超大的電子產品,本pet保護膜有高透光度,可完全適用手機、電腦、液晶屏等玻璃制品的保護。
138 0224 1034